Sony Patent Describes An AI Generated Ghost Player Overlay That Can Guide Or Even Complete Gameplay Sections For You
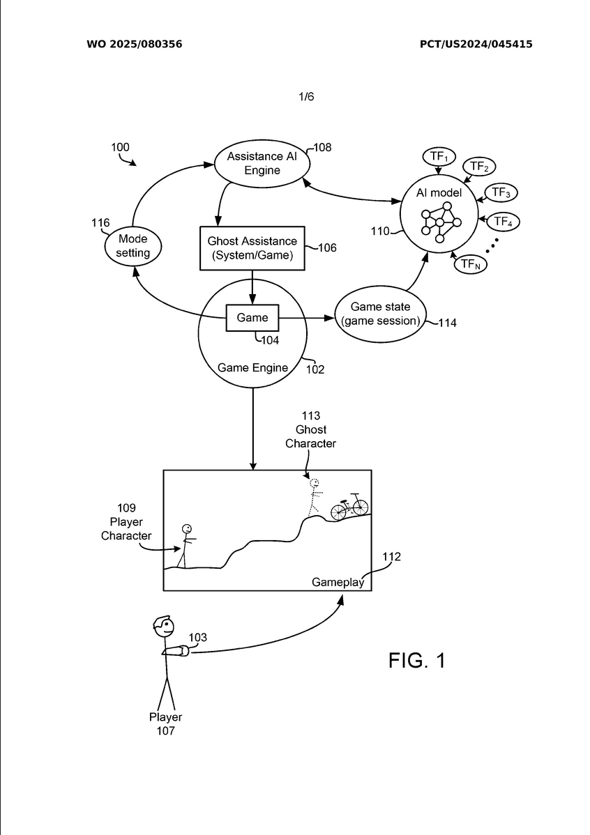
Sony has a new gameplay assistance concept making the rounds, and the reaction online has been exactly what you would expect when the idea sounds like it could turn a prestige single player experience into a spectator sport. A patent filing published by the World Intellectual Property Organization this week outlines an AI generated Ghost Player that can appear as an on screen overlay during live gameplay, demonstrating solutions to tricky scenarios and, depending on the mode selected, potentially completing the section on the player’s behalf.
The patent was initially filed by Sony in September 2024, and it describes a system that analyzes game state data in real time to identify the scenario the player is currently facing. The key differentiator Sony emphasizes is that the ghost character is not simply a replay of another player’s prior run. Instead, the model and an assistance AI engine generate control inputs tailored to what is happening in the player’s current session, in the current moment. In simple terms, the Ghost Player is meant to adapt to your context, then visually illustrate how to progress through the relevant encounter, puzzle, combat setup, or traversal challenge.
The filing also outlines multiple player facing modes. In a Guide Mode scenario, the Ghost Player functions like a living hint system, showing the player how to execute the solution rather than dumping a text prompt or a static objective marker. That part is easy to understand as a natural evolution of modern accessibility and assist design. The more controversial part is a Complete Mode, where the system can essentially do the problem section for you, allowing the player to move forward without clearing the hurdle themselves.
From a console ecosystem standpoint, Sony already ships help systems at the platform level. The PlayStation 5 includes Tips and Game Help, which can offer progressively more specific hints when developers opt in to providing them. It is already a quality of life win for players who do not want to reach for a phone or a second screen. The Ghost Player concept reads like Sony exploring the next step: replacing hints with a visual walkthrough that reacts to live gameplay.
The immediate gamer concern is not hard to map, especially for players looking forward to first party releases like Marvel’s Wolverine, or anyone who buys cinematic action adventures for the satisfaction loop of learning a boss pattern, solving a puzzle, or finally pulling off a clean encounter. Players already complain when companion characters give away puzzle answers too quickly. A Ghost Player that waits until you explicitly ask for help would at least keep agency in the player’s hands. But a mode that completes the challenge for you lands closer to an automated skip button with extra steps, and that is where the discourse gets spicy.
There is also an adjacent trust conversation that always shows up when assistance systems become more personalized. Even if this is framed as accessibility, or as a way to reduce churn when frustration spikes, the moment an AI is interpreting your play state and responding with real time guidance, players will ask how it is trained, what it needs to observe, and how much of the experience is being analyzed under the hood. Recent reactions across the industry suggest that even optional AI helpers can trigger pushback if players feel watched, nudged, or rushed through content.
All that said, it is still just a patent. Patents often describe exploratory ideas that never ship, or ship in a heavily scaled down form. If Sony does bring anything like this into a real product, the success case probably depends on execution details: strict opt in, clear boundaries, and treating it as an accessibility and learning tool first, not a trophy conveyor belt.
Because if the game is playing itself, the player question becomes unavoidable: what exactly are you buying, and what part of the experience is still yours?
If a game offered an optional Ghost Player overlay, would you use it as a learning tool, or would it instantly kill the fun and sense of achievement for you?
